Canon chce opatentować ruchomy sensor do ustawiania ostrości

Ruchomy sensor do ustawiania ostrości - brzmi innowacyjnie, ale czemu nie. Canon chce opatentować ciekawe rozwiązanie autofokusa, polegające na ruchomej matrycy zamiast ruchomych soczewkach w obiektywie.

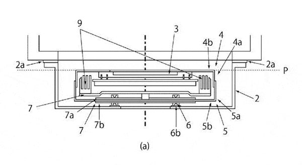
Canon chce opatentować ruchomy sensor do ustawiania ostrości 1
Marcin Falana
Canon chce opatentować ruchomy sensor do ustawiania ostrości 2

Zamiast umieszczać na matrycy czujnik detekcji fazy matryca porusza się po osi optycznej obiektywu. Jest to ciekawe rozwiązanie, szczególnie biorąc pod uwagę obiektywy z ciężkimi soczewkami odpowiedzialnymi za autofokus, co wiąże się z wolnym działaniem tego systemu. Może to pomóc w przyspieszeniu ostrzenia z użyciem tradycyjnego autofokusa w obiektywach.

Canon chce opatentować ruchomy sensor do ustawiania ostrości 3

Wadą takiego rozwiązania jest masa i gabaryty matrycy, która poruszając się może powodować ruchy korpusu. Rozwiązaniem Canona mają być przeciwwagi umieszczone przy sensorze, co ma niwelować drgania, przy niewielkim powiększeniu rozmiaru korpusu. Jest to ciekawe rozwiązanie, które może być alternatywą do czujników detekcji fazy na matrycy albo słabo działającego ustawiania ostrości na zasadzie detekcji kontrastu.

Może niedługo korzystając z korpusów Canona będziemy mogli włączyć autofokus ze starymi, manualnymi obiektywami, podobnie jak możemy u niektórych producentów korzystać ze stabilizacji matrycy nawet z manualnymi obiektywami. Póki co mamy do czynienia ze staraniami o patent, wiec nie oznacza to, że takie rozwiązanie naprawdę się pojawi. Jednak widać, że Canon szuka nowych ciekawych rozwiązań.

Źródło artykułu: WP Fotoblogia
Wybrane dla Ciebie
Gang fok przegania rekina. U wybrzeży Afryki foki dały popis współpracy
Gang fok przegania rekina. U wybrzeży Afryki foki dały popis współpracy
Nie uwierzysz na co patrzysz. Polacy w ścisłej czołówce takich zdjęć
Nie uwierzysz na co patrzysz. Polacy w ścisłej czołówce takich zdjęć
Niesamowity kadr przedstawiający pradawny gatunek skorupiaka wygrał prestiżowy konkurs
Niesamowity kadr przedstawiający pradawny gatunek skorupiaka wygrał prestiżowy konkurs
Ekstremalnie rzadki aparat został sprzedany za 3,5 mln euro. Wyprodukowano go 100 lat temu
Ekstremalnie rzadki aparat został sprzedany za 3,5 mln euro. Wyprodukowano go 100 lat temu
Kary za zdjęcia dzieci. Konsekwencje dla rodziców we Francji
Kary za zdjęcia dzieci. Konsekwencje dla rodziców we Francji
Rekin gonił cień drona. Zachowywał się, jak kot goniący zajączka
Rekin gonił cień drona. Zachowywał się, jak kot goniący zajączka
Brutalny atak jelenia na zdjęciu. Fotograf przestrzega turystów
Brutalny atak jelenia na zdjęciu. Fotograf przestrzega turystów
Widziałeś film z Hanksem? Aktor ostrzega przed oszustwem
Widziałeś film z Hanksem? Aktor ostrzega przed oszustwem
Perseidy, Droga Mleczna i świecące glony naraz. Oto zdjęcie jedno na milion
Perseidy, Droga Mleczna i świecące glony naraz. Oto zdjęcie jedno na milion
Meta wykorzystała publiczne zdjęcia z Facebooka i Instagrama do trenowania AI
Meta wykorzystała publiczne zdjęcia z Facebooka i Instagrama do trenowania AI
Prawdziwy skarb fotograficzny. Te zabytkowe aparaty nie zrobiły ani jednego zdjęcia
Prawdziwy skarb fotograficzny. Te zabytkowe aparaty nie zrobiły ani jednego zdjęcia
Tragedia podczas wycieczki. Kobieta spadła z urwiska robiąc selfie
Tragedia podczas wycieczki. Kobieta spadła z urwiska robiąc selfie
ZATRZYMAJ SIĘ NA CHWILĘ… TE ARTYKUŁY WARTO PRZECZYTAĆ 👀