WAŻNE
TERAZ

Znamy najlepszy film roku. Orły zostały przyznane

Oryginalny patent Nikona do aparatów typu EVIL

W Sieci wciąż pojawiają się nowe plotki na temat wkroczeniu dwóch największych potentatów branży - Canona i Nikona - na rynek aparatów EVIL. Tym razem mamy dla Was ciekawy smaczek. Prawdopodobnie Nikon wprowadzi do swoich aparatów zmyślny mechanizm chroniący matrycę, gdy obiektyw jest zdjęty. Największą niespodzianką jest jednak fakt, że prawdopodobnie aparat ten będzie wyposażony... w lustro.

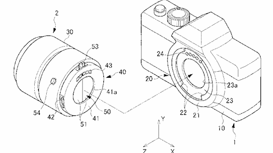
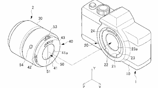
Oryginalny patent Nikona do aparatów typu EVIL 1

Tak, tak, dobrze przeczytaliście. Lustro to oczywiście nie będzie pełniło takiej roli jak w  lustrzankach. Zostanie ono umieszczone w wizjerze cyfrowym, prawdopodobnie po to, by powiększać jego obraz. Można to wywnioskować ze schematycznego rysunku złożonego wraz z patentem.

Oryginalny patent Nikona do aparatów typu EVIL 2

Na rysunku widać też, że obiektyw jest odpięty, a komora aparatu zamknięta zewnętrzną ścianką. Prawdopodobnie jest to mechanizm chroniący matrycę przed kurzem i drobinkami, które mogą się przedostać na jej powierzchnię, gdy optyka apratu jest odłączona.

Portal NikonRumors zauważa jednak, że przedstawiony na schematycznym rysunku model aparatu posiada przycisk uwalniający obiektyw nie na korpusie, lecz na obudowie obiektywu właśnie. Spodziewano się natomiast, że aparat Nikona typu EVIL będzie posiadać ten przycisk na przedniej ściance body.

"Bezlustrzana" konstrukcja Nikona wzbudza już teraz wiele emocji. Wszyscy są ciekawi co zaprezentuje gigant branży przedstawiając aparat nowego typu. Nam natomiast pozostaje liczyć na to, że japoński producent stanie na wysokości zadania i wkrótce zaprezentuje coś naprawdę oryginalnego.

Źródło: nikonrumors.com

Źródło artykułu: WP Fotoblogia
Wybrane dla Ciebie
Gang fok przegania rekina. U wybrzeży Afryki foki dały popis współpracy
Gang fok przegania rekina. U wybrzeży Afryki foki dały popis współpracy
Nie uwierzysz na co patrzysz. Polacy w ścisłej czołówce takich zdjęć
Nie uwierzysz na co patrzysz. Polacy w ścisłej czołówce takich zdjęć
Niesamowity kadr przedstawiający pradawny gatunek skorupiaka wygrał prestiżowy konkurs
Niesamowity kadr przedstawiający pradawny gatunek skorupiaka wygrał prestiżowy konkurs
Ekstremalnie rzadki aparat został sprzedany za 3,5 mln euro. Wyprodukowano go 100 lat temu
Ekstremalnie rzadki aparat został sprzedany za 3,5 mln euro. Wyprodukowano go 100 lat temu
Kary za zdjęcia dzieci. Konsekwencje dla rodziców we Francji
Kary za zdjęcia dzieci. Konsekwencje dla rodziców we Francji
Rekin gonił cień drona. Zachowywał się, jak kot goniący zajączka
Rekin gonił cień drona. Zachowywał się, jak kot goniący zajączka
Brutalny atak jelenia na zdjęciu. Fotograf przestrzega turystów
Brutalny atak jelenia na zdjęciu. Fotograf przestrzega turystów
Widziałeś film z Hanksem? Aktor ostrzega przed oszustwem
Widziałeś film z Hanksem? Aktor ostrzega przed oszustwem
Perseidy, Droga Mleczna i świecące glony naraz. Oto zdjęcie jedno na milion
Perseidy, Droga Mleczna i świecące glony naraz. Oto zdjęcie jedno na milion
Meta wykorzystała publiczne zdjęcia z Facebooka i Instagrama do trenowania AI
Meta wykorzystała publiczne zdjęcia z Facebooka i Instagrama do trenowania AI
Prawdziwy skarb fotograficzny. Te zabytkowe aparaty nie zrobiły ani jednego zdjęcia
Prawdziwy skarb fotograficzny. Te zabytkowe aparaty nie zrobiły ani jednego zdjęcia
Tragedia podczas wycieczki. Kobieta spadła z urwiska robiąc selfie
Tragedia podczas wycieczki. Kobieta spadła z urwiska robiąc selfie
NIE WYCHODŹ JESZCZE! MAMY COŚ SPECJALNIE DLA CIEBIE 🎯