Olympus przygotował patent dla średniego formatu

Pamiętacie jeszcze informację o średnioformatowym aparacie Samsunga przygotowanym na wewnętrzne potrzeby firmy? Ostatni patent japońskich konkurentów koreańskiej firmy przypomina ten design, choć z drobnym "ale".

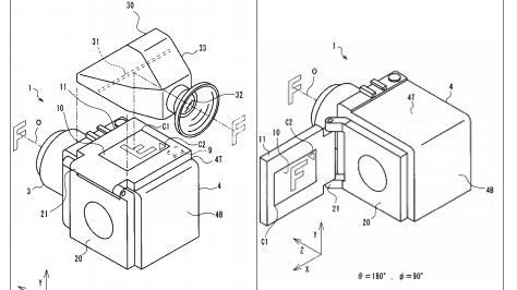
Olympus przygotował patent dla średniego formatu 1Olympus opatentował uchylny ekran dla średniego formatu
Piotr Dopart

Sam dokument dotyczy uchylnego monitora LCD, który jednak na rysunkach technicznych we wniosku patentowym widnieje przytwierdzony do znajomego kształtu. Podobny korpus można było zobaczyć już w maju tego roku, choć w lipcowym wywiadzie dla serwisu Megapixel przedstawiciel Samsunga zarzekał się, że za projektem nie idą żadne plany wprowadzenia na rynek.

Olympus słynie raczej z dążenia w kierunku miniaturyzacji, a ich kawałek tortu obejmuje w tej chwili przede wszystkim rynek Mikro Cztery Trzecie. Opatentowanie uchylnego wyświetlacza dla średniego formatu jest więc wycieczką w rejony bardzo odległe od domu.

Dotychczasowe produkty Olka wskazują, że firma zamierza po prostu odsprzedać patent - tylko komu? Wątpliwe, by Hasselblad i Mamiya były zainteresowane, twórcy pentaksowego, prostokątnego średniego formatu też nie mają wielu powodów, by bawić się w cudze technologie, chyba że Ricoh jakimś cudem postanowi inaczej. 43rumors przypomina jednak, że Olympus ostatnio mocno współpracuje z Samsungiem (czyżby coś drgnęło w tym temacie?).

Ostatnia prawdopodobna możliwość to to, że dokument wyląduje w szufladzie, by już nigdy nie zostać wywleczonym spod grubej warstwy kurzu. Byłaby szkoda, bo uchylny ekran przypominający w założeniach ten znany z kamer wideo mógłby być cennym usprawnieniem dla średnioformatowców.

Mimo wszystko dobrze widzeć, że Olek działa i ma się relatywnie dobrze po ostatnich firmowych perturbacjach i mimo tak nieprzyjemnych wydarzeń, jak niedawne wkroczenie policji do mieszkań niektórych pracowników.

Źródło: 43rumors

Źródło artykułu: WP Fotoblogia
Wybrane dla Ciebie
Gang fok przegania rekina. U wybrzeży Afryki foki dały popis współpracy
Gang fok przegania rekina. U wybrzeży Afryki foki dały popis współpracy
Nie uwierzysz na co patrzysz. Polacy w ścisłej czołówce takich zdjęć
Nie uwierzysz na co patrzysz. Polacy w ścisłej czołówce takich zdjęć
Niesamowity kadr przedstawiający pradawny gatunek skorupiaka wygrał prestiżowy konkurs
Niesamowity kadr przedstawiający pradawny gatunek skorupiaka wygrał prestiżowy konkurs
Ekstremalnie rzadki aparat został sprzedany za 3,5 mln euro. Wyprodukowano go 100 lat temu
Ekstremalnie rzadki aparat został sprzedany za 3,5 mln euro. Wyprodukowano go 100 lat temu
Kary za zdjęcia dzieci. Konsekwencje dla rodziców we Francji
Kary za zdjęcia dzieci. Konsekwencje dla rodziców we Francji
Rekin gonił cień drona. Zachowywał się, jak kot goniący zajączka
Rekin gonił cień drona. Zachowywał się, jak kot goniący zajączka
Brutalny atak jelenia na zdjęciu. Fotograf przestrzega turystów
Brutalny atak jelenia na zdjęciu. Fotograf przestrzega turystów
Widziałeś film z Hanksem? Aktor ostrzega przed oszustwem
Widziałeś film z Hanksem? Aktor ostrzega przed oszustwem
Perseidy, Droga Mleczna i świecące glony naraz. Oto zdjęcie jedno na milion
Perseidy, Droga Mleczna i świecące glony naraz. Oto zdjęcie jedno na milion
Meta wykorzystała publiczne zdjęcia z Facebooka i Instagrama do trenowania AI
Meta wykorzystała publiczne zdjęcia z Facebooka i Instagrama do trenowania AI
Prawdziwy skarb fotograficzny. Te zabytkowe aparaty nie zrobiły ani jednego zdjęcia
Prawdziwy skarb fotograficzny. Te zabytkowe aparaty nie zrobiły ani jednego zdjęcia
Tragedia podczas wycieczki. Kobieta spadła z urwiska robiąc selfie
Tragedia podczas wycieczki. Kobieta spadła z urwiska robiąc selfie
ZATRZYMAJ SIĘ NA CHWILĘ… TE ARTYKUŁY WARTO PRZECZYTAĆ 👀